
sonyalpharumors đã từng phát hiện ra điều này trong một bằng sáng chế vào cuối năm 2018, tuy nhiên sau đó là nhiều tháng im hơi lặng tiếng. Sony gần đây đã có một bằng sáng chế khác (mã số US 20200036901A1) nộp vào tháng 10 năm 2019 và công bố vào tháng 1 năm 2020, với nhiều chi tiết hơn về thiết kế cũng như khả năng của thiết bị mới.
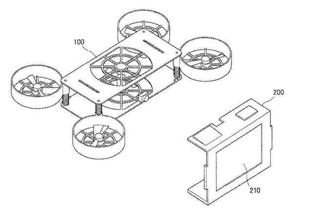
Khi chiếc drone này được xếp gọn vào trong lớp vỏ đặc biệt, nó sẽ có hình dạng như một chiếc máy ảnh.

Để chiếc drone bay được, đầu tiên bạn phải tháo lớp vỏ ra, đó cũng chính là màn hình hiển thị và điều khiển từ xa của drone. Các cánh quạt sẽ bung ra ở 4 góc.

Thiết bị có thể điều khiển bằng thao tác chạm ngón tay trên màn hình cảm ứng. Ví dụ thao tác dùng 2 ngón tay zoom ảnh lên giống như trên điện thoại có thể làm drone bay gần hoặc xa hơn chủ thể mà bạn muốn theo ghi hình:

Và khi dùng ngón tay chạm kéo đối tượng trên màn hình sẽ khiến drone bay theo quỹ đạo tương ứng:

Nếu muốn chụp ảnh nhóm, bạn chỉ cần khởi động drone từ bàn tay, nó sẽ bay một quãng ngắn, tự canh khung và chụp ảnh nhóm, sau đó quay trở lại lòng bàn tay.

Bạn có thể xem đầy đủ bằng sáng chế tại liên kết này:
https://www.scribd.com/document/445404672/Us-20200036901-a-1
Giống như nhiều hãng công nghệ khác, đây chỉ là nghiên cứu của Sony và không có gì chắc chắn là nó sẽ được thương mại hóa. Nhưng nó cũng có cơ hội thành hiện thực, thật thú vị khi thấy ông lớn Sony cũng bắt tay vào sản xuất drone chống lại hãng DJI (Trung Quốc) đang làm mưa làm gió trên thị trường.







